Home Page
About Company
About Evote Company
Patent And Certificate
Product Catalog
Body Camera
Portable Radio
Marine Radio
Radio Accessory
Window Intercom
FM Radio
Mobile Radio , Station
Management System
Radio Software
Contact US

Portable  Radio

CONTACT  US

 

Type Examination Certificate
...
...

 

Radio Patent
patent
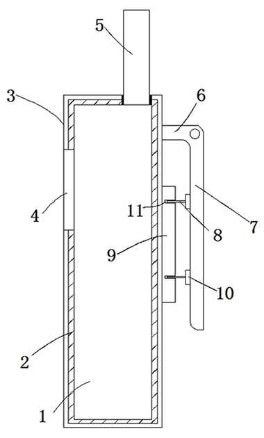
A TDMR High Frequency Explosion-Proof And Anti-Interference Portable Walkie Talkie

Authorization Announcement Number: CN205986845U
Patentee: Evote Electronic Technology Co., Ltd

This utility model relates to the field of walkie talkie technology, specifically a TDMR high-frequency explosion-proof anti-interference portable walkie talkie, comprising a body and a receiving antenna. The outer wall of the body is bonded with a protective film, which includes a waterproof layer. The lower end face of the waterproof layer is sprayed with an anti-static coating, and the lower end face of the anti-static coating is set with an electromagnetic shielding net. The lower end face of the electromagnetic shielding net is set with a bonding layer, and the protective film is embedded with transparent glass. The outer wall of the protective film is connected to a shell. The TDMR high-frequency explosion-proof anti-interference portable walkie talkie can be more firmly fixed on clothes to avoid losing the walkie talkie, while having good explosion-proof and anti-interference capabilities.

Consultation or Suggestion
A
Send Email

 


EVOTE@EVOTECOM.COM

11/F OFFICE A HARVARD COMMERCIAL BUILDING 105-111 THOMSON RD WAN CHAI HK
COPYRIGHT©2026 EVOTE ELECTRONICS COMPANY , ALL RIGHTS RESERVED
COPYRIGHT©2026 EVOTE ELECTRONICS COMPANY
ALL RIGHTS RESERVED